By Physicist Wolfhart Willimczik

Task is to stop this oil leak

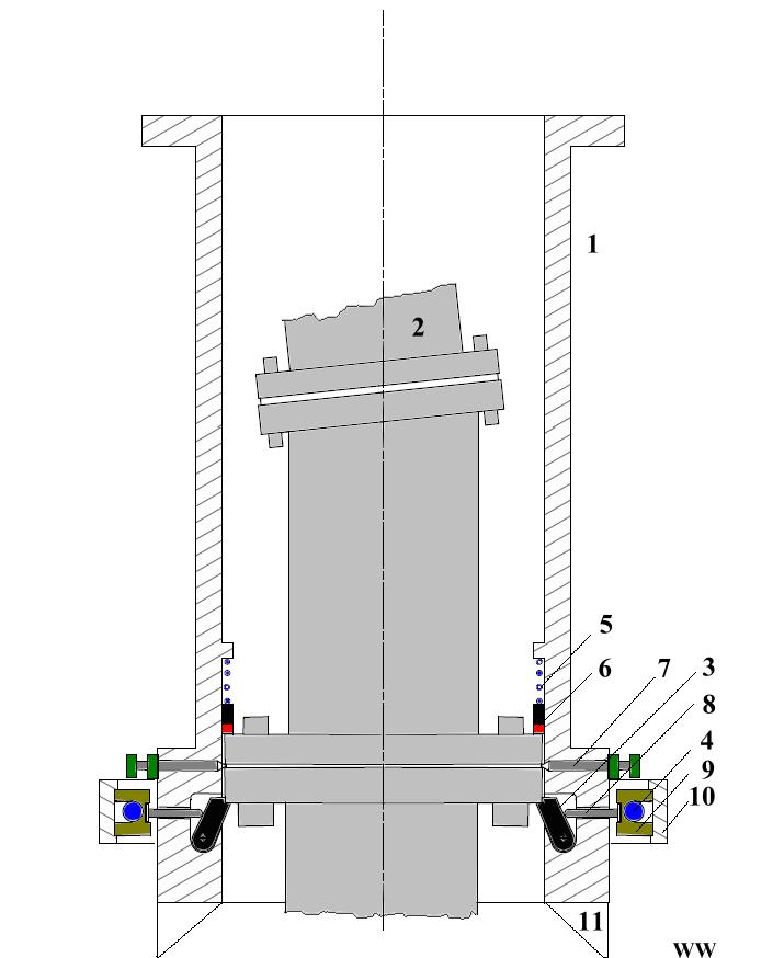
1 – new pipe 2 – broken well head 3 - springy stoppers 4 - large strong spring 5 - spring to push the seal part in place 6 – seal 7 – screw 8 – pin 9 - adapter 10 - clamp ring 11 – guiding fins
A new short, but larger pipe (1) will be lowered over the damaged top of the blow out preventer (what was in reality a shut off preventer) to the undamaged second flange. (Oil is still flowing. No great forces are to overcome.) Numerous of spring loaded stoppers ( for instance as many as screws are on this flange) will automatically snap on the lower edge of the strong flange, holding it down. A spring (5) like a big snap ring pushes via radial pins the stoppers to the inside. Screws (7) can now be tightened that the pipe stays strait and will not swing. A clamp ring prevents the stoppers to get loose again. A weaker spring (5) pushes a seal part on the upper edge of the flange. After securing this new pipe end anything useful can be placed on its end (or was already) like a valve connected to the present pipe to the surface. The well could now totally closed via the valve or let open a certain amount, with it the pressure of the oil get not too high, because the integrity of the entire well head etc is in doubt. Advantage is that no major oil leak exist any more and a certain – now adjustable - amount of oil can be flow to the surface letting the oil well at a lower pressure.
1 – new pipe 2 – broken well head 3 - tapered part of the new pipe 4 – guiding fin 5 – present pipe to the surface 6 – larger flange
This is a very simple step to catch the oil from the BP well. A similar device what is used today is lowered over the broken pipe (2) on the BOP.
A tapered part (4) of this pipe (1) stops on the upper edge of the larger flange (6) and seals it. The weight of the pipe (1) and (5) will hold it down. The oil will flow through the pipe (5) to the surface. This solution allows not to close the well as in my prior proposal, but it is very simple.
It is
imperative for the entire Gulf region that a feasible solution will be tried very soon.
Is there a
corporation in America able and willing to build this device? We should begin immediately – the oil is still gushing in the Gulf of Mexico. For
immediate contact: Wolfhart@tampabay.rr.com
Wolfhart Willimczik
Physicist & Inventor
Finally they got my message and recognize that my way is the right way:
E-mail from: "Horizon Support" <Horizonsupport@oegllc.com
>
To: <wolfhart@tampabay.rr.com >
Sent: Sunday, June 27, 2010 4:28 PM
Subject: Horizon Call Center - your recent submission
Dear
Wolfhart Willimczik,
Thank you so much for taking the time to think about and submit your proposed solution regarding the Horizon incident. Your submission has been
reviewed for its technical merits. A similar approach has already been considered or planned for possible implementation. All of us on the
Horizon Support Team appreciate your thoughts and efforts.
Sincerely yours,
Horizon Support Team
6/10/2010
- ©2010 all rights reserved -